主要基準形態的類型
基準形態有平面、直線、點等類型,依規範公差及形態區分使用。
平面的基準
平面的基準將目標物的面設定為基準。可以設定在目標物的外形面(基準平面)及中心面(基準中心平面)等。
在ISO及ASME的定義如下:
- ISO 5459:2011
- 理論上正確平面的基準。
- ASME Y14.5-2009
- 從基準形態確立的基準形態模擬器的平面。
基準平面
基準平面為設定在目標物外形面的基準。若將平坦表面指定為基準,則指示記號如下。
指示記號

基準的設定

- a
- 模擬基準形態 = 平板的表面
- b
- 基準 = 依平板設定的平面
指定為基準的目標物(基準形態)的表面在實際上可能凹凸不平或扭曲。藉由將指定為基準的面以平板等精度較高的平面支撐,會設定基準平面A。此時,支撐的平面為「模擬基準形態」。
基準中心平面
設定在目標物中心面等,理論上的平面為基準中心平面。若將平行相對2個表面的中心面指定為基準,則指示記號如下。
指示記號

基準的設定

- a
- 模擬基準形態 = 2個平坦的接觸面
- b
- 基準 = 依2個平坦接觸面設定的平面
同基準平面,指定為基準的目標物(基準形態)的表面在實際上可能凹凸不平或扭曲。在精度較高的平面,藉由將指定為基準的面從兩側支撐,設定基準中心平面(b)。此時,支撐的2個平面為模擬基準形態,藉此產生理論上為平面的「基準中心平面」。
基準直線
在目標物的角等的稜線、圓柱孔及圓柱軸的中心設定的理論上的直線。有「基準軸」及「基準軸直線」。大多設定在目標物的圓柱孔及圓柱軸的中心,極少設定在稜線。說明將基準軸設定為圓柱孔及設定為圓柱軸的情況。在ISO及ASME的定義如下:
- ISO 5459:2011
- 理論上正確直線的基準。
- ASME Y14.5-2009
- 從基準形態確立的基準形態模擬器的軸。
基準直線(設定為圓柱孔時)
在設定圓柱孔中心的基準,指示記號如下。
指示記號

基準的設定

- a
- 基準(基準軸直線)=最大內接圓柱的軸直線
- b
- 模擬基準形態 = 最大內接圓柱
指定為基準的目標物(基準形態)的圓柱孔表面在實際上可能凹凸不平或扭曲。藉由插入緊密且精度高的軸,插入的孔洞會設定為基準。此時,插入的軸為模擬基準形態,該軸直線為基準軸直線。
基準直線(設定為圓柱軸時)
在設定圓柱軸中心的基準,則指示記號如下。
指示記號

基準的設定

- a
- 基準(基準軸直線)=最小外接圓柱的軸直線
- b
- 模擬基準形態 = 最小外接圓柱
指定為基準的目標物(基準形態)的圓柱軸表面在實際上可能凹凸不平或扭曲。藉由插入緊密且精度高的孔,插入的孔洞會設定為基準。此時,插入的孔為模擬基準形態,該軸直線為基準軸直線。
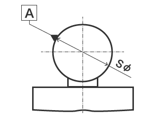
點
若將球形目標物的中心設定為基準點,則指示記號如下。
指示記號

基準的設定

- a
- 基準=最小外接球的中心
- b
- 模擬基準形態=V型塊規狀的4個接觸點(依最小外接球顯示)
指定為基準的目標物的球體表面在實際上可能凹凸不平或扭曲。以2個V型塊規夾住基準形態球體形成4個接觸點,此球體表面為模擬基準形態,其中心為基準點。


