LED照明裝置 影像處理周邊配件綜合目錄 CA-D 系列

低角度型照明由低角度型照射,強調邊緣的低角度型照明
CA-DLR

代表性應用案例

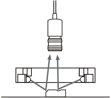
橡膠襯墊的缺口檢測

可判斷成形時產生的圓周部缺口或表面受損、厚薄不均等瑕疵,因其顏色相同對比不足,目視難以發現。

低角度型照明的照明技巧

可由低角度照射目標物邊緣的低角度型照明。若來自上方直接照明,光會擴散,因此利用斜向照射難以辨識的邊緣或表面上的凹凸,可拍攝、並判斷陰影對比。

照射示意圖

低角度型照明應用案例

橡膠襯墊的缺口檢查

直接反射

無法辨識圓周部位缺口。

低角度型照明

邊緣部位的缺口呈明顯的白色。

瓶口的缺口

直接反射

無法辨識口部缺口。

低角度型照明

浮現口部缺口。