夏比衝擊試驗的斷口定量評估

衝擊試驗是一種材料試驗,用於檢查材料受到衝擊時的韌性和脆性。衝擊試驗包括擺錘式夏比衝擊試驗、伊佐德衝擊試驗、拉伸衝擊試驗、落球式的落球(落錘)衝擊試驗、杜邦衝擊試驗、落鏢衝擊試驗。其中,夏比衝擊試驗或伊佐德衝擊試驗用於工業領域。
特別是夏比衝擊試驗,對於承受強烈衝擊和高壓的零件材料,如核電站的發電機和其他管道,是必不可少的試驗。
本頁講解夏比衝擊試驗方法、試樣的基本知識和試驗結果的評價。還將介紹試驗結果的評價、以往的量測方法存在的問題及其解決方法。
什麼是夏比衝擊試驗?
夏比衝擊試驗是通過用擺錘對試樣施加衝擊載荷使其破裂時的能量來確定衝擊值並進行材料的韌性和脆性評估的試驗。
如果錘子打碎試樣,然後向上擺動至高角度,則說明試樣無法吸收衝擊力。相反,如果錘子只向上擺動至較低的角度,則試樣吸收了更多的衝擊力。
吸收更多衝擊的試樣材料在抗衝擊性方面被評為優異。此外,如果確定了擺錘的角度(規定值),則在進行試驗時,如果測得的擺錘角度小於規定值,則試驗通過或不合格。
夏比衝擊試驗評價
夏比衝擊試驗量測錘子的提升角和破壞試樣後的慣性角。另外,由於在斷裂試樣的斷口殘留有表示破壞狀態的大量資訊,因此也對其進行評價。
夏比衝擊試驗中吸收能量的評估
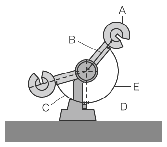
在夏比衝擊試驗中,求取“吸收能量”,即破壞試樣所消耗的能量。這可以通過讀取最初設置的錘子提升角和破碎試樣後錘子升至相反側的角度來求取。下面是夏比衝擊試驗機的示意圖和求取吸收能量和夏比衝擊試驗強度的公式。

- A
- 錘子
- B
- 從錘子的旋轉中心到重心的距離(R)
- C
- 擊破試樣後錘子的擺動角度(θβ)
- D
- 試樣(b:寬度,h:厚度)
- E
- 錘子的提升角(θα)
<式>
E=WR(cosθb-cosθA)-L
a=E/bh
- E
- 吸收能量 (J)
- a
- 夏比衝擊值(kg·cm/cm2)
- W
- 錘重(N)
- R
- 從錘子的迴轉軸中心到重心的距離(m)
- θβ
- 擊破試樣後錘子的擺動角度(°)
- θα
- 錘子的提升角(°)
- b
- 試樣寬度 (cm)
- h
- 試樣厚度(厘米)
- L
- 摩擦引起的能量損失
夏比衝擊試驗的試樣
夏比衝擊試驗中使用的試樣包括如下。材料是從產品中實際使用的材料中切割出來的。
| 試驗方法 | 試樣 |
|---|---|
| 金屬材料的夏比衝擊試驗方法 | 夏比衝擊試樣(V缺口/U缺口) |
| 玻璃纖維增強塑料的夏比衝擊試驗方法 | 橫向衝擊試樣(1號試樣、2號試樣) 沿邊衝擊試樣(1號試樣、2號試樣) |
| 碳纖維增強塑料的夏比衝擊試驗方法 | 夏比衝擊試樣 |
| 塑料-夏比衝擊性能的求取方法 | 夏比衝擊試樣 |
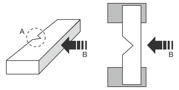
試樣有應力集中的切槽稱為“缺口”,缺口包括“V型缺口”和“U型缺口”。此外,還有“沿邊衝擊”和“橫向衝擊”的試樣。沿邊衝擊對試樣的窄邊賦予衝擊,而橫向衝擊對試樣的寬邊賦予衝擊。下面是當用沿邊衝擊進行測試時試樣和打擊方向的例子。

- A
- 缺口
- B
- 打擊方向(沿邊法)
夏比衝擊試驗的斷口評價
通過夏比衝擊試驗破壞的試樣的斷口顯示出因溫度而造成的破壞的差異。這種由溫度變化引起的斷口形貌變化稱為“脆性轉變現象”。斷口有兩種類型:脆性斷口和韌性斷口。脆性斷口呈閃閃發光的銀白色,而韌性斷口凹凸變形大,呈深灰色。脆性斷口在斷口中所佔之比稱為“脆性斷口比”,反之,從100%的斷口面積減去脆性斷口比所得的值稱為“韌性斷口比” ”
例如,相同的材料在低溫下,試樣以近似初始的正方形斷面斷裂。斷口變成脆性斷口,吸收能量變小。相反,在高溫下成為韌性斷口,脆性斷口比變小。並且吸收的能量增加。
這樣,夏比衝擊試驗引起的斷口中溫度與吸收能的關係和韌性的變化作為表面積和粗糙度體現出來,因此定量評價在材料試驗中非常重要。
夏比衝擊試驗與伊佐德衝擊試驗的區別
與夏比衝擊試驗一起,伊佐德衝擊試驗是工業領域中經常使用的衝擊試驗。常用於塑料的衝擊試驗,單位為J/m。但是,兩者在試樣固定方法上有所不同。在夏比試驗中,試樣的左右兩端固定,中心被擊打。在伊佐德衝擊試驗中,試樣的一端被固定,另一端被擊打。與夏比衝擊試驗一樣,用錘子進行擊打。然後,從吸收的能量中求得導致破壞的衝擊強度。吸收能量,與夏比衝擊試驗一樣,是通過舉起的錘子角度和試樣擊破後錘子因慣性升高的角度來量測的。伊佐德 衝擊強度和吸收能量的公式如下。

- A
- 打擊方向
a=E/b
- a
- 衝擊強度(J/m)
- E
- 斷裂所需能量(吸收能量)(J)
- b
- 試樣缺口邊寬(m)
求取吸收能量的計算公式如下。
E=WR(cosθβ−cosθα)−L
- E
- 吸收能量 (J)
- W
- 錘重(N)
- R
- 從錘子的迴轉軸中心到重心的距離(m)
- θβ
- 擊破試樣後錘子的擺動角度(°)
- θα
- 錘子的提升角(°)
- L
- 摩擦引起的能量損失
以往的斷口量測問題
迄今為止,顯微鏡用於量測表面積。但是,存在量測需要時間且無法量化的問題。在某些情況下,量測結果無法保存或轉換為數據,這使得斷口評估變得極其困難。
使用顯微鏡的斷口量測問題

顯微鏡可以捕獲“表面”上的資訊。凹槽的寬度可以通過移動量測台來量測,深度方向可以通過聚焦的移動量來量測。此外,放大倍率高,可以觀察斷口的細節。
另一方面,有人擔心量測結果可能因人而異,因為是通過對齊來量測的,因此無法量化,量測值的可信度令人擔憂。
斷口量測中的問題解決方法
使用以往的顯微鏡等進行量測,存在量測結果偏差和無法量化量測結果等問題。為了解決這些量測問題,KEYENCE 開發了表面 3D輪廓量測儀“VR 系列”。
以非接觸方式準確捕捉對象物的 3D 形狀。可以在最快 1 秒內對量測台上的對象物進行 3D 掃描,以高精度量測 三維形狀。因此,可以在量測結果沒有偏差的情況下瞬時進行定量量測。這裡就其具體的優點進行介紹。
優點一:最快1秒即可完成定量評估
可以量測金屬斷裂面的面積和體積,以及表面積與橫截面積的比值。一次量測最快可在 1 秒內完成,因此可以大大增加由於需要時間而使用以往的顯微鏡和量測儀難以量測的 N點。

此外,可以快速量測廣闊區域的最高點和最低點,以前需要花費大量時間和精力。由於所有的量測結果都轉化為數據,可以大大減少後期數據比較和分析作業所需的時間和精力。
優點二:對應可追溯性的量測系統

“VR系列”是一款非接觸式三維量測儀,可確保與國家標準相關聯的可追溯性。準確度和重複性是量測精度的兩大性能保證,因此可以獲得令人放心、可信度高的量測結果。此外,證書作為標準附在主機和校準板上。
“VR 系列”可以用作量測儀,因為是一個基於可追溯性的量測系統。
此外,標配帶有檢查報告和校准證書的校準規。該量規與 JCSS 認證運營商的參考尺度相關聯。任何人都可以在現場準確校準。
總結:顯著改進難以量測的斷口量測,提高量測效率
使用“VR系列”,可以快速量測和量化斷口的狀態,以前由於量測耗時而N點受到限制,只能觀察。這使得通過夏比衝擊試驗在更高水平上實現斷口評價成為可能。當然也可以通過伊佐德衝擊試驗來進行斷口評價。
- 由於是在面上量測的,因此可以輕鬆量測廣闊的區域。還可以量測各種參數,例如斷口的表面積、體積和粗糙度。
- 消除因人而異的量測值偏差,實現定量量測。
- 操作簡單,無需定位,只需將對象物放在量測台上,按下按鈕即可。消除對個人量測作業的依賴。
- 由於可以輕鬆、高速、高精度地量測 3D 形狀,因此可以在短時間內量測許多對象物,這有助於提高品質。
此外,與過去的3D形狀數據的比較、粗糙度分佈等可以輕鬆進行分析,因此可以用於各種用途,例如根據溫度對斷口狀態進行趨勢分析和破壞狀態的確認。


